Disclaimer: Not affiliated with or endorsed by Subaru Motor Company. For informational purposes only. Full Disclaimer

2019 Subaru Forester Owners Manual - Maintenance tools



Maintenance tools

Your vehicle is equipped with the following maintenance tools.

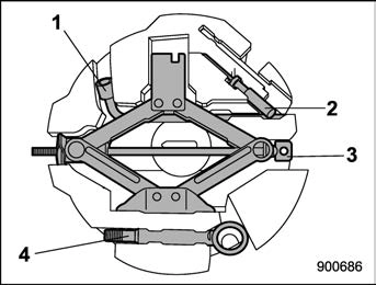
    Jack
    Jack handle
    Screwdriver
    Towing hook (eye bolt)
    Wheel nut wrench
    Screwdriver and wheel nut wrench

    Screwdriver
    Wheel nut wrench

The screwdriver, wheel nut wrench, etc. are stored in your vehicle.

Maintenance tools 415

The tools can also be stored in the tool bucket.

The jack, jack handle and towing hook are stored as shown in the following illustra- tions.

    Under-floor storage compartment (if equipped) (Refer to “Under-floor storage compartment”  P289.)
    Jack handle
    Spare tire
    Tool bucket

    Wheel nut wrench
    Screwdriver
    Jack
    Towing hook (eye bolt)
    For how to use the jack, refer to “Flat tires”  P417.
    The following items may be different depending on the model.
    The shape of the storage com- partment
    The locations of some mainte- nance tools

Download Manual