Disclaimer: Not affiliated with or endorsed by Honda Motor Company. For informational purposes only. Full Disclaimer

1997 Honda Accord Fuse Box Diagrams & Locations

Honda Accord (1997 – 2002) – fuse box diagram

Shop From Amazon

Honda Accord (1997 – 2002) – fuse box diagram

Year of production: 1997, 1998, 1999, 2000, 2001, 2002

Driver’s Under-Dash Fuse box

Front View

Honda Accord - fuse box diagram - dashboard (driver's side) - front view` class=`size-medium wp-image-19338` height=`179` loading=`lazy` sizes=`(max-width: 300px) 100vw, 300px`  data-cke-saved-src=`/uploads/6ee/1ec/473/6ee1ec4732446fb4eaebc5a0f140d163.jpg` src=`/uploads/6ee/1ec/473/6ee1ec4732446fb4eaebc5a0f140d163.jpg` srcset=`/uploads/6ee/1ec/473/6ee1ec4732446fb4eaebc5a0f140d163.jpg 300w,  450w` width=`300` />

<figcaption class=`wp-caption-text` id=`caption-attachment-19338`>Honda Accord – fuse box diagram – dashboard (driver’s side) – front view</figcaption>
</figure>

<p><b>Rear View</b></p>

<figure aria-describedby=`caption-attachment-19339` class=`wp-caption alignnone` id=`attachment_19339` style=`width: 300px`><img alt=`Honda Accord - fuse box diagram - dashboard (driver's side) - rear view
Honda Accord – fuse box diagram – dashboard (driver’s side) – rear view
Number Fuse name A Circuits Protected
1 FUEL PUMP 15 PGM-FI main relay, SRS unit (VA)
2 SRS 10 SRS unit (VB)
3 HEATER CONTROL
A/? CLUTCH RELAY
COOLING FAN RELAY
7,5 A/C compressor controls, Air delivery, Blower controls, Fans, Rear window defogger relay, Seat heaters (Canada EX)
4 R/C MIRROR 7,5 ABS control unit (All except ’01-’02 V6), ABS/TCS control unit (’01-’02 V6), Power mirrors, Power mirror defoggers (Canada), Option connector S
5 DAY LIGHT 7,5 DRL control unit (Canada)
6 ECU
CRUISE CONTROL
15 Charging system, Cruise control, Engine mount control system, Evaporative emission control system, Fuel and emissions, Gauge assembly, Radiator fan control module (V6), VSS (M/T)
7 FR WASHER
SUN ROOF RELAY
SIDE SRS
SRS
7,5 Wiper/washer, SRS (with side SRS)
8 ACC RELAY 7,5 Accessory power socket relay, Option connector R
9 BACK UP LIGHT
INSTRUMENT LIGHT
7,5 Back-up lights, Brake light failure sensor, Clock, Driver’s and passenger’s multiplex control units, DRL indicator (Canada), Gauge assembly, Security system (USA except EX), Shift lock solenoid (A/T)
10 TURN LIGHTS 7,5 Turn signal/hazard relay
11 IG COIL 7,5 Ignition coil (L4)
12 FR WIPER 30 Wiper/washer
13 STARTER SIGNAL 7,5 PCM or ECM, PGM-FI main relay, Starter
Relay
R1 Starter cut relay
R2 Reverse relay
R3 Turn signal/hazard relay

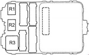
Passenger’s Under-Dash Fuse Box

Front View

Honda Accord - fuse box diagram - dashboard (passenger's side) - front view` class=`size-medium wp-image-19340` height=`185` loading=`lazy` sizes=`(max-width: 300px) 100vw, 300px`  data-cke-saved-src=`/uploads/e9f/c80/53c/e9fc8053cdb8866f93522435c26471ef.jpg` src=`/uploads/e9f/c80/53c/e9fc8053cdb8866f93522435c26471ef.jpg` srcset=`/uploads/e9f/c80/53c/e9fc8053cdb8866f93522435c26471ef.jpg 300w,  450w` width=`300` />

<figcaption class=`wp-caption-text` id=`caption-attachment-19340`>Honda Accord – fuse box diagram – dashboard (passenger’s side) – front view</figcaption>
</figure>

<p><b>Rear View</b></p>

<figure aria-describedby=`caption-attachment-19341` class=`wp-caption alignnone` id=`attachment_19341` style=`width: 300px`><img alt=`Honda Accord - fuse box diagram - dashboard (passenger's side) - rear view
Honda Accord – fuse box diagram – dashboard (passenger’s side) – rear view
Number Fuse name A Circuits Protected
1 SUN ROOF MOTOR 30 Moon roof
2 POWER SEAT REC 20 Power seat up-down motor (2-way adjustable), Power seat rear up-down and recline motors (8-way adjustable)
3 POWER SEAT SLIDE 20 Power seat slide motor (4-way adjustable)
4 POWER SEAT SLIDE 20 Power seat front up-down and slide motors (8-way adjustable)
5 POWER SEAT REC 20 Power seat recline motor (4-way adjustable)
6 DAY LIGHT 10 DRL control unit (Canada)
LAF HEATER 20 Primary H02S relay (ULEV)
7 P/W REAR L
SUNROOF RELAY
20 Left rear window motor, Moonroof open and close relays
8 P/W FRONT R 20 Front passenger’s window motor
9 RADIO
CIGARETTE LIGHTER
20 Accessory power socket, Audio unit
10 SMALL LIGHT
LICENSE LIGHT
10 Dash and console lights, Driver’s multiplex control unit, Front parking lights, Front side marker lights, Glove box light, Ucense plate light, TaiNights, Vanity mirror lights
11 INTERIOR LIGHT
COURTESY LIGHT
7,5 Ceiling light, Door courtesy lights, Spotlights, Trunk light
12 POWER DOOR LOCK 20 Passenger’s multiplex control unit
13 CLOCK BACK UP 7,5 Climate control unit (w/auto A/?), Clock, Door multiplex control unit, Driver’s multiplex control unit, Gauge assembly, Heater control panel (w/manual A/?), Passenger’s multiplex control unit, PCM or ECM, Security indicator (EX)
14 ABS MTR CHK 7,5 ABS control unit (All except ’01-’02 V6)
7,5 ABS/TCS control unit (’01-’02 V6)
15 P/W FRONT L 20 Door multiplex control unit
16 P/W REAR R 20 Right rear window motor
Relay
R1 Power window relay
R2 Accessory power socket relay
R3 Rear window defogger relay

Under-Hood Fuse Box

Honda Accord - fuse box diagram - engine compartment
Honda Accord – fuse box diagram – engine compartment
Honda Accord - fuse box diagram - engine compartment
Honda Accord – fuse box diagram – engine compartment
Number Fuse name A Circuits Protected
41 BATTERY 100 Power distribution
42 IG1 MAIN 50 Ignition switch (BAT)
43 RIGHT HEAD LIGHT 20 DRL control unit (Canada), Right headlight
44
45 LEFT HEAD LIGHT 20 DRL control unit (Canada), High beam cut relay (Canada), High beam indicator (USA), Left headlight
46 ACG S 15 DLC, PGM-FI main relay
47 STOP 20 ABS control unit, Brake lights, Cruise control unit, Horn relay, Ignition key light, Key interlock switch (AIT), PCM or ECM
48 ABS F/S 20 ABS control unit (All except ’01-02 V6), ABS/TCS control unit (’01-02 V6)
49 HAZARD 15 Turn signal/hazard relay
50 ABS MOTOR 30 ABS pump motor, Fuse 14 (in passenger’s under-dash fuse/relay box)
51 POWER WINDOW MOTOR 40 Fuse 1 (in passenger’s under-dash fuse/relay box), Power window relay
52 BSC F/S 20 TCS relay
53 RR DEFROSTER 40 Rear window defogger
54 BACK UP, ACC 40 Fuses 9, 10,11,12, and 13 (in passenger’s under-dash fuse/relay box)
55 POWER SEAT 40 Fuses 2, 3, 4, 5, and 6 (in passenger’s under-dash fuse/relay box)
56 HEATER MOTOR 40 Blower motor
57 COOLING FAN 20 Radiator fan motor
58 CONDENSER FAN 20 A/C compressor clutch, Condenser fan motor, Radiator fan control module (V6)
59 HEATED SEAT 20 Seat heaters (Canada EX)
Relay
R1 Condenser fan relay
R2 Radiator fan relay
R3 A/C compressor clutch relay
R4 Blower motor relay
R5 Horn relay
R6 Headlight relay 2
R7 Headlight relay 1

WARNING: Terminal and harness assignments for individual connectors will vary depending on vehicle equipment level, model, and market.

Shop From Amazon