Disclaimer: Not affiliated with or endorsed by Acura Motor Company. For informational purposes only. Full Disclaimer

2002 Acura MDX Fuse Box Diagrams & Locations

Acura MDX (2001 – 2006) – fuse box diagram

Shop From Amazon

Acura MDX (2001 – 2006) – fuse box diagram

Year of production: 2001, 2002, 2003, 2004, 2005, 2006

Engine compartment fuse and relay box

Acura MDX - fuse box diagram - engine compartment
Acura MDX – fuse box diagram – engine compartment
? A Component(s) or Circuit(s) Protected
41 120 Battery, Power distribution
42 50 Ignition switch (BAT), Optional connector U
43 20 Daytime running lights control unit (Canada), Headlight (right), Fog light relay
44 Not used
45 20 Daytime running lights control unit (Canada), Dimmer relay, Headlight (left), High beam indicator
46 15 Data link connector (DLC), Injectors, PGM-FI main relay 1, CMP sensor, CKP sensor A, CKP sensor B
47 20 Brake lights, Driver’s multiplex control unit, Horn (high), Ignition key switch, No. 90 fuse (in the auxiliary fuse holder 1), PCM, Trailer lighting connector, VSA modulator-control unit
48 20 Audio unit (without rear entertainment system), Front stereo amplifier*1, Rear stereo amplifier*3, Stereo amplifier*2
49 15 Hazard warning lights
50 20 Fog lights
51 40 No.1, 7, 8,15, and 16 fuses (in the passenger’s under-dash fuse/relay box), Power window relay
52 30 Rear blower motor
53 30 Rear window defogger
54 40 No.9, 10, 11, 12 and 13 fuses (in the passenger’s under-dash fuse/relay box)
55 40 No.2, 3, 4, 5, 6 and 14 fuses (in the passenger’s under-dash fuse/relay box)
56 40 Blower motor relay
57 30 Radiator fan motor
58 30 A/C condenser fan motor
59 7.5 A/C compressor clutch
Spare fuse
Relay
R1 Headlight relay 1 (right)
R2 Headlight relay 2 (left)
R3 Horn relay
R4 A/C condenser fan relay
R5 Blower motor relay
R6 Radiator fan relay
R7 A/C compressor clutch relay
*1: ’03 model
*2: ’04-06 models
*3: All ’03 models and ’04-06 models without BOSE

Under-hood Subfuse Box

Acura MDX - fuse box diagram - under-hood Subfuse Box
Acura MDX – fuse box diagram – under-hood Subfuse Box
? A Component(s) or Circuit(s) Protected
1 20 Audio unit (with rear entertainment system), Rear controller and screen (with rear entertainment system), OVD player unit (with rear entertainment system)*4
VTM-4 control unit*1,*2
2 40 VSA modulator-control unit (+B FSR)
3 30 VSA modulator-control unit (+B MTR)
4 20 VTM-4 control unit*4
Audio unit (with rear entertainment system), Rear controller and screen (with rear entertainment system), OVO player unit (with rear entertainment system)*1,*2
5 Not used
6 20 Rear accessory power socket
7 15 Throttle actuator control module
8 15 Ignition coils
9 15 A/F sensors (Bank 1, Bank 2), A/F sensor relay, Radiator fan relay, Engine mount control solenoid, EVAP canister purge valve, Secondary heated oxygen sensors (Bank 1, Bank 2), ELO unit*4
10 7.5 PCM (VBU), TPMS control unit*3, HandsFreeLink control unit*3
11 20 Power window control unit
* 1: ’03 model
* 2: ’04 model
* 3: ’05 moqel
* 4: ’04-06 models

Driver’s Under-dash Fuse/Relay Box

Acura MDX - fuse box diagram - Driver's Under-dash Fuse/Relay Box` class=`size-medium wp-image-22801` height=`173` loading=`lazy` sizes=`(max-width: 300px) 100vw, 300px` src=`/uploads/1fb/aa6/78e/1fbaa678eb44d3daf508c225789cace6.jpg` srcset=`/uploads/1fb/aa6/78e/1fbaa678eb44d3daf508c225789cace6.jpg 300w,  601w` width=`300` />

<figcaption class=`wp-caption-text` id=`caption-attachment-22801`>Acura MDX – fuse box diagram – Driver’s Under-dash Fuse/Relay Box</figcaption>
</figure>

<table class=`table table-hover table-bordered` style=`width: 601px;`>
	<tbody>
		<tr>
			<td align=`center` style=`width: 25px;`><b>?</b></td>
			<td align=`center` style=`width: 25px;`><b>A</b></td>
			<td align=`center` style=`width: 551px;`><b>Component(s) or Circuit(s) Protected</b></td>
		</tr>
		<tr>
			<td align=`center` style=`width: 25px;`>1</td>
			<td align=`center` style=`width: 25px;`>15</td>
			<td style=`width: 551px;`>Fuel pump, SRS unit (VA)</td>
		</tr>
		<tr>
			<td align=`center` style=`width: 25px;`>2</td>
			<td align=`center` style=`width: 25px;`>10</td>
			<td style=`width: 551px;`>SRS unit (VB)</td>
		</tr>
		<tr>
			<td align=`center` style=`width: 25px;`>3</td>
			<td align=`center` style=`width: 25px;`>7.5</td>
			<td style=`width: 551px;`>A/C compressor clutch relay, Blower motor relay, Climate control panel, Climate control unit, A/C condenser fan relay, Fan control relay, Rear blower motor relay, Rear heater-A/C control panel-unit, Rear mode control motor, Rear window defogger relay, Recirculation control motor</td>
		</tr>
		<tr>
			<td align=`center` style=`width: 25px;`>4</td>
			<td align=`center` style=`width: 25px;`>7.5</td>
			<td style=`width: 551px;`>Automatic inside dimming mirror, Automatic lighting control unit, Electrical compass unit (without navigation system), Multi-information display unit (without navigation system), Optional connector R, Power mirror actuator, Power mirror defogger, Seat heater relay</td>
		</tr>
		<tr>
			<td align=`center` style=`width: 25px;`>5</td>
			<td align=`center` style=`width: 25px;`>10</td>
			<td style=`width: 551px;`>Daytime running lights control unit (Canada)</td>
		</tr>
		<tr>
			<td align=`center` style=`width: 25px;`>6</td>
			<td align=`center` style=`width: 25px;`>15</td>
			<td style=`width: 551px;`>PCM, VTM-4 relay<sup>*1</sup>, Shift lock relay<sup>*3</sup></td>
		</tr>
		<tr>
			<td align=`center` style=`width: 25px;`>7</td>
			<td align=`center` style=`width: 25px;`>7.5</td>
			<td style=`width: 551px;`>OPDS unit, Seat weight sensor unit</td>
		</tr>
		<tr>
			<td align=`center` style=`width: 25px;`>8</td>
			<td align=`center` style=`width: 25px;`>7.5</td>
			<td style=`width: 551px;`>Accessory power socket relay, Optional connectors, Shift lock solenoid, Rear accessory power socket relay</td>
		</tr>
		<tr>
			<td align=`center` style=`width: 25px;`>9</td>
			<td align=`center` style=`width: 25px;`>10</td>
			<td style=`width: 551px;`>Automatic lighting control unit, Brake light failure sensor, Cruise control main switch indicator, Driver’s multiplex control unit, Driver’s power seat control unit, Gauge assembly, Shift lock relay<sup>*4</sup>, Keyless receiver unit, Passenger multiplex control unit, Passenger’s airbag cutoff indicator, Rain sensor (with Auto wiper), Reverse relay, VTM-4 control unit, VTM-4 relay<sup>*5</sup>, VTM-4 lock switch, Windshield washer motor (with Auto wiper), TPMS control unit<sup>*5</sup></td>
		</tr>
		<tr>
			<td align=`center` style=`width: 25px;`>10</td>
			<td align=`center` style=`width: 25px;`>7.5</td>
			<td style=`width: 551px;`>Turn signal/hazard relay</td>
		</tr>
		<tr>
			<td align=`center` style=`width: 25px;`>11</td>
			<td align=`center` style=`width: 25px;`>10</td>
			<td style=`width: 551px;`>Rear window intermittent wiper control unit, Rear window wiper motor, Rear window washer motor</td>
		</tr>
		<tr>
			<td align=`center` style=`width: 25px;`>12</td>
			<td align=`center` style=`width: 25px;`>30</td>
			<td style=`width: 551px;`>Intermittent wiper relay, Windshield washer motor, Windshield wiper motor (with Auto wiper), Automatic wiper relay (with Auto wiper)</td>
		</tr>
		<tr>
			<td align=`center` style=`width: 25px;`>13</td>
			<td align=`center` style=`width: 25px;`>–</td>
			<td style=`width: 551px;`>Not used</td>
		</tr>
		<tr>
			<td colspan=`3` style=`width: 601px;`>*1: ’03 model<br />
			*3: ’05-06 models<br />
			*4: ’03-04 models<br />
			*5: ’04-06 models</td>
		</tr>
	</tbody>
</table>

<p><b>View of back side</b></p>

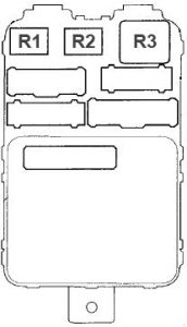
<figure aria-describedby=`caption-attachment-22803` class=`wp-caption alignnone` id=`attachment_22803` style=`width: 300px`><img alt=`Acura MDX - fuse box diagram - Driver's Under-dash Fuse/Relay Box (back side)
Acura MDX – fuse box diagram – Driver’s Under-dash Fuse/Relay Box (back side)
? Relay
R1 Starter cut relay
R2 Reverse relay
R3 Turn signal/hazard relay

Passenger’s Under-dash Fuse/Relay Box

Acura MDX - fuse box diagram - Passenger's Under-dash Fuse/Relay Box` class=`size-medium wp-image-22805` height=`300` loading=`lazy` sizes=`(max-width: 176px) 100vw, 176px` src=`/uploads/772/47b/164/77247b164ed093f4a4aaec291c38f6af.jpg` srcset=`/uploads/772/47b/164/77247b164ed093f4a4aaec291c38f6af.jpg 176w,  300w` width=`176` />

<figcaption class=`wp-caption-text` id=`caption-attachment-22805`>Acura MDX – fuse box diagram – Passenger’s Under-dash Fuse/Relay Box</figcaption>
</figure>

<table class=`table table-hover table-bordered` style=`width: 601px;`>
	<tbody>
		<tr>
			<td align=`center` style=`width: 25px;`><b>?</b></td>
			<td align=`center` style=`width: 25px;`><b>A</b></td>
			<td align=`center` style=`width: 541px;`><b>Component(s) or Circuit(s) Protected</b></td>
		</tr>
		<tr>
			<td align=`center` style=`width: 25px;`>1</td>
			<td align=`center` style=`width: 25px;`>30</td>
			<td style=`width: 541px;`>Moonroof motor</td>
		</tr>
		<tr>
			<td align=`center` style=`width: 25px;`>2</td>
			<td align=`center` style=`width: 25px;`>20</td>
			<td style=`width: 541px;`>Driver’s power seat rear up-down motor, Driver’s power seat recline motor, Driver’s power seat control unit (with DPMS)</td>
		</tr>
		<tr>
			<td align=`center` style=`width: 25px;`>3</td>
			<td align=`center` style=`width: 25px;`>20</td>
			<td style=`width: 541px;`>Front passenger’s Rower seat front up-down motor Front passenger’s power seat slide motor</td>
		</tr>
		<tr>
			<td align=`center` style=`width: 25px;`>4</td>
			<td align=`center` style=`width: 25px;`>20</td>
			<td style=`width: 541px;`>Driver’s power seat front up-down motor, Driver’s power seat slide motor, Driver’s power seat control unit (with DPMS)</td>
		</tr>
		<tr>
			<td align=`center` style=`width: 25px;`>5</td>
			<td align=`center` style=`width: 25px;`>20</td>
			<td style=`width: 541px;`>Front passenger’s power seat rear up-down motor, Front passenger’s power seat recline motor, Passenqer’s multiplex control unit</td>
		</tr>
		<tr>
			<td align=`center` style=`width: 25px;`>6</td>
			<td align=`center` style=`width: 25px;`>10</td>
			<td style=`width: 541px;`>Daytime running lights control unit (Canada), OnStar control unit<sup>*3</sup></td>
		</tr>
		<tr>
			<td align=`center` style=`width: 25px;`>7</td>
			<td align=`center` style=`width: 25px;`>20</td>
			<td style=`width: 541px;`>Left rear window motor Moonroof open relay<sup>*1</sup>, Moonroof close relay<sup>*1</sup></td>
		</tr>
		<tr>
			<td align=`center` style=`width: 25px;`>8</td>
			<td align=`center` style=`width: 25px;`>20</td>
			<td style=`width: 541px;`>Front passenger’s window motor</td>
		</tr>
		<tr>
			<td align=`center` style=`width: 25px;`>9</td>
			<td align=`center` style=`width: 25px;`>15</td>
			<td style=`width: 541px;`>Audio unit, Console accessory power socket, DVD player unit (with rear entertainment system), Front accessory power socket, Headphone jack assembly (with rear entertainment system), Multi-information display unit (without navigation system), Navigation display unit, Navigation unit, Optional cigarette lighter connector, Rear controller and screen (with rear entertainment system), Rearview camera control unit (with navigation system)</td>
		</tr>
		<tr>
			<td align=`center` style=`width: 25px;`>10</td>
			<td align=`center` style=`width: 25px;`>15</td>
			<td style=`width: 541px;`>A/T gear position indicator panel light, Audio unit light, Climate control unit light, Cruise control main switch light, Dash lights brightness controller, Driving position memory switch light, Driver’s multiplex control unit, DVD player unit, Glove box light, Fog light switch light, Gauge assembly light, Hazard warning light switch light, Interior light switch light, Front parking lights, Left taillight, License plate light (left and right), Moonroof switch light, Multi-information display unit light, Navigation display unit light, Navigation unit, Optional connector T, Passenger’s airbag cutoff indicator, Front side marker light, Right taillight, Seat heater switches light, Select/reset switch light, Taillight relay, Trailer lighting connector, VTM-4 lock switch light Ambient Iights<sup>*5</sup></td>
		</tr>
		<tr>
			<td align=`center` style=`width: 25px;`>11</td>
			<td align=`center` style=`width: 25px;`>10</td>
			<td style=`width: 541px;`>Cargo area light, Courtesy light, Multi-information display unit (without navigation system), Navigation display unit, Vanity mirror lights, Rear individual map light, Front individual map light/HomeLink Footwell lights<sup>*5</sup>, TPMS control unit<sup>*2</sup></td>
		</tr>
		<tr>
			<td align=`center` style=`width: 25px;`>12</td>
			<td align=`center` style=`width: 25px;`>20</td>
			<td style=`width: 541px;`>Passenger’s multiplex control unit</td>
		</tr>
		<tr>
			<td align=`center` style=`width: 25px;`>13</td>
			<td align=`center` style=`width: 25px;`>7.5</td>
			<td style=`width: 541px;`>Automatic lighting control unit, Door multiplex control unit, Driver’s power seat control unit (with DPMS), Driver’s multiplex control unit, Driving position memory switch indicator, Gauge assembly, Immobilizer control unit-receiver, Immobilizer indicator, Keyless receiver unit, Navigation unit, Passenqer’s multiplex control unit, Rearview camera control unit (with navigation), Security indicator</td>
		</tr>
		<tr>
			<td align=`center` style=`width: 25px;`>14</td>
			<td align=`center` style=`width: 25px;`>20</td>
			<td style=`width: 541px;`>Seat heaters</td>
		</tr>
		<tr>
			<td align=`center` style=`width: 25px;`>15</td>
			<td align=`center` style=`width: 25px;`>7.5</td>
			<td style=`width: 541px;`>Door multiplex control unit, Power window control unit, Moonroof open relay<sup>*5</sup>, Moonroof close relay<sup>*5</sup></td>
		</tr>
		<tr>
			<td align=`center` style=`width: 25px;`>16</td>
			<td align=`center` style=`width: 25px;`>20</td>
			<td style=`width: 541px;`>Right rear window motor</td>
		</tr>
		<tr>
			<td colspan=`3` style=`width: 25px;`>*1: ’03 model<br />
			*2: ’04 model<br />
			*3: ’05-06 models<br />
			*4: ’03-04 models<br />
			*5: ’04-06 models</td>
		</tr>
	</tbody>
</table>

<p><b>View of back side</b></p>

<figure aria-describedby=`caption-attachment-22807` class=`wp-caption alignnone` id=`attachment_22807` style=`width: 172px`><img alt=`Acura MDX - fuse box diagram - Passenger's Under-dash Fuse/Relay Box (back side)
Acura MDX – fuse box diagram – Passenger’s Under-dash Fuse/Relay Box (back side)
? Relay
R1 Power window relay
R2 Accessory power socket relay
R3 Rear window defogger relay

Auxiliary Fuse Holder’s

Acura MDX - fuse box diagram - auxiliary Fuse Holder's` class=`size-medium wp-image-22809` height=`106` loading=`lazy` sizes=`(max-width: 300px) 100vw, 300px` src=`/uploads/4f0/1f6/fd1/4f01f6fd10c1ea3e606fe7a28179ca26.jpg` srcset=`/uploads/4f0/1f6/fd1/4f01f6fd10c1ea3e606fe7a28179ca26.jpg 300w,  661w` width=`300` />

<figcaption class=`wp-caption-text` id=`caption-attachment-22809`>Acura MDX – fuse box diagram – auxiliary Fuse Holder’s</figcaption>
</figure>

<table class=`table table-hover table-bordered` style=`width: 601px;`>
	<tbody>
		<tr>
			<td align=`center` style=`width: 25px;`><b>?</b></td>
			<td align=`center` style=`width: 25px;`><b>A</b></td>
			<td align=`center` style=`width: 541px;`><b>Component(s) or Circuit(s) Protected</b></td>
		</tr>
		<tr>
			<td align=`center` style=`width: 25px;`>90</td>
			<td align=`center` style=`width: 25px;`>7.5</td>
			<td style=`width: 541px;`>Horn relay<br />
			Horn (low)</td>
		</tr>
		<tr>
			<td align=`center` style=`width: 25px;`>91</td>
			<td align=`center` style=`width: 25px;`>7.5</td>
			<td style=`width: 541px;`>Automatic wiper control unit<br />
			Windshield wiper motor (with automatic wiper)</td>
		</tr>
		<tr>
			<td align=`center` style=`width: 25px;`>92</td>
			<td align=`center` style=`width: 25px;`>7.5</td>
			<td style=`width: 541px;No.6 fuse (in the driver’s under-dash fuse/relay box)
Alternator, ELD unit (’03 model), Immobilizer control unit-receiver, VSA modulator-control unit

WARNING: Terminal and harness assignments for individual connectors will vary depending on vehicle equipment level, model, and market.

Shop From Amazon