Disclaimer: Not affiliated with or endorsed by Chevrolet Motor Company. For informational purposes only. Full Disclaimer

2019 Chevrolet Silverado 1500 Owners Manual - Wheels and Tires



Wheels and Tires

All-Season Tires

This vehicle may come with

all-season tires. These tires are designed to provide good overall

performance on most road surfaces and weather conditions. Original equipment tires designed to GM's specific tire performance criteria have a TPC specification code molded onto the sidewall. Original equipment all-season tires can be identified by the last two characters of this TPC code, which will

be “MS.”

Consider installing winter tires on the vehicle if frequent driving on snow or ice-covered roads is expected. All-season tires provide adequate performance for most winter driving conditions, but they may not offer the same level of traction or performance as winter tires on snow or ice-covered roads. See Winter Tires 0 372.

This vehicle was not originally equipped with winter tires. Winter tires are designed for increased traction on snow and ice-covered roads. Consider installing winter tires on the vehicle if frequent driving on ice or snow covered

roads is expected. See your dealer for details regarding winter tire availability and proper tire selection. Also, see Buying New Tires 0 390.

With winter tires, there may be decreased dry road traction, increased road noise, and shorter tread life. After changing to winter tires, be alert for changes in vehicle handling and braking.

If using winter tires:

    Use tires of the same brand and tread type on all four wheel positions.
    Use only radial ply tires of the same size, load range, and speed rating as the original equipment tires.

Winter tires with the same speed rating as the original equipment tires may not be available for H, V, W, Y, and ZR speed rated tires. If winter tires with a lower speed rating are chosen, never exceed the tire's maximum speed capability.

size tires, they are classified as low-profile tires.

All-Terrain Tires

This vehicle may have all-terrain tires. These tires provide good performance on most road surfaces, weather conditions, and for off-road driving. See Off-Road Driving 0 230.

The tread pattern on these tires may wear more quickly than other tires. Consider rotating the tires more frequently than at 12 000 km

(7,500 mi) intervals if irregular wear is noted when the tires are inspected. See Tire Inspection

0 386.

Passenger (P-Metric)/Spare Tire

    Tire Size : The tire size code is a combination of letters and numbers used to define a particular tire's width, height, aspect ratio, construction type, and service description. See the “Tire Size” illustration later in this section for more detail.
    TPC Spec (Tire Performance Criteria Specification) : Original equipment tires designed to GM's specific tire performance criteria have a TPC specification

code molded onto the sidewall. GM's TPC specifications meet or exceed all federal safety guidelines.

    DOT (Department of Transportation) : The Department of Transportation (DOT) code indicates that the tire is in compliance with the

U.S. Department of Transportation Motor Vehicle Safety Standards.

DOT Tire Date of Manufacture : The last four

digits of the TIN indicate the tire manufactured date. The first two digits represent the week

(01-52) and the last two digits, the year. For example, the third week of the year 2010 would have a four-digit DOT date

of 0310.

    Tire Identification Number (TIN) : The letters and numbers following the DOT code are the Tire Identification Number (TIN).

The TIN shows the manufacturer and plant code, tire size, and date the tire was manufactured. The TIN is molded onto both sides of the tire, although only one side may have the date of manufacture.

    Tire Ply Material : The type of cord and number of plies in the sidewall and under the tread.
    Uniform Tire Quality Grading (UTQG) : Tire manufacturers are required to grade tires based on three performance factors: treadwear, traction, and temperature resistance. For more information, see Uniform Tire Quality Grading 0 392.
    Maximum Cold Inflation Load Limit : Maximum load that can be carried and the maximum pressure needed to support that load. For information on recommended

tire pressure see Tire Pressure

0 379 and Vehicle Load Limits

0 238.

    Temporary Use Only : Only use a temporary spare tire until the road tire is repaired and replaced. This spare tire should not be driven on over 112 km/h (70 mph), or 88 km/h (55 mph) when pulling a trailer, with the proper inflation pressure. See Full-Size Spare Tire 0 408.

Light Truck (LT-Metric) Tire

    Tire Size : The tire size code is a combination of letters and numbers used to define a particular tire's width, height, aspect ratio, construction type, and service description. See the “Tire Size” illustration later in this section for more detail.
    TPC Spec (Tire Performance Criteria Specification) : Original equipment tires designed to GM's specific tire performance criteria have a TPC specification

code molded onto the sidewall. GM's TPC specifications meet or exceed all federal safety guidelines.

    Dual Tire Maximum Load : Maximum load that can be carried and the maximum pressure needed to support that load when used in a dual configuration. For information on recommended tire pressure see Tire Pressure 0 379 and Vehicle Load Limits 0 238.
    DOT (Department of Transportation) : The Department of Transportation (DOT) code indicates that the tire is in compliance with the

U.S. Department of Transportation Motor Vehicle Safety Standards.

DOT Tire Date of Manufacture : The last four

digits of the TIN indicate the tire manufactured date. The first two digits represent the week

(01-52) and the last two digits, the year. For example, the third week of the year 2010 would have a four-digit DOT date

of 0310.

    Tire Identification Number (TIN) : The letters and numbers following the DOT code are the Tire Identification Number (TIN). The TIN shows the manufacturer and plant code, tire size, and date the tire was manufactured. The TIN is molded onto both sides of the tire, although only one side may have the date of manufacture.
    Tire Ply Material : The type of cord and number of plies in the sidewall and under the tread.
    Single Tire Maximum Load : Maximum load that can be carried and the maximum

pressure needed to support that load when used as a single. For information on recommended

tire pressure see Tire Pressure

0 379 and Vehicle Load Limits

0 238.

The examples show a typical passenger vehicle and light truck tire size.

Passenger (P-Metric) Tire

    Passenger (P-Metric) Tire : The United States version of a metric tire sizing system. The letter P as the first character in the tire size means a passenger vehicle tire engineered to standards set by the U.S. Tire and Rim Association.
    Tire Width : The three-digit number indicates the tire section width in millimeters from sidewall to sidewall.
    Aspect Ratio : A two-digit number that indicates the tire height-to-width measurements. For example, if the tire size aspect ratio is 75, as shown in item C of the tire illustration, it would mean that the tire's sidewall is 75 percent as high as it is wide.
    Construction Code : A letter code is used to indicate the type of ply construction in the tire. The letter R means radial ply construction; the letter D means diagonal or bias ply construction; and the letter B means belted-bias ply construction.
    Rim Diameter : Diameter of the wheel in inches.
    Service Description : These characters represent the load index and speed rating of the tire. The load index represents the load carrying capacity a tire is certified to carry. The speed rating is the maximum speed a tire is certified to carry a load.

Light Truck (LT-Metric) Tire

    Light Truck (LT-Metric) Tire : The United States version of a metric tire sizing system. The letters LT as the first two characters in the tire size mean a light truck tire engineered to standards set by the U.S. Tire and Rim Association.
    Tire Width : The three-digit number indicates the tire section width in millimeters from sidewall to sidewall.
    Aspect Ratio : A two-digit number that indicates the tire height-to-width measurements. For example, if the tire size aspect ratio is 75, as shown in item 3 of the light truck

(LT-Metric) tire illustration, it would mean that the tire's sidewall is 75 percent as high as it is wide.

    Construction Code : A letter code is used to indicate the type of ply construction in the tire. The letter R means radial ply construction; the letter D means diagonal or bias ply construction; and the letter B means belted-bias ply construction.
    Rim Diameter : Diameter of the wheel in inches.
    Load Range : Load Range.
    Service Description : The service description indicates the load index and speed rating of a tire. If two numbers are given as in the example, 120/116, then this represents the load index for single versus dual wheel usage (single/dual). The speed rating is the maximum speed a tire is certified to carry a load.

Tire Terminology and Definitions

Air Pressure : The amount of air inside the tire pressing outward on each square inch of the tire. Air pressure is expressed in kPa (kilopascal) or psi (pounds per square inch).

Accessory Weight : The combined weight of optional accessories. Some examples of optional accessories are automatic transmission, power windows, power seats, and air conditioning.

Aspect Ratio : The relationship of a tire's height to its width.

Belt : A rubber coated layer of cords between the plies and the tread. Cords may be made from steel or other reinforcing materials.

Bead : The tire bead contains steel wires wrapped by steel cords that hold the tire onto the rim.

Bias Ply Tire : A pneumatic tire in which the plies are laid at alternate angles less than

90 degrees to the centerline of the tread.

Cold Tire Pressure : The amount of air pressure in a tire, measured in kPa (kilopascal) or psi (pounds per square inch) before a tire has built up heat from driving. See Tire Pressure 0 379.

Curb Weight : The weight of a motor vehicle with standard and optional equipment including the maximum capacity of fuel, oil, and coolant, but without passengers and cargo.

DOT Markings : A code molded into the sidewall of a tire signifying that the tire is in compliance with the U.S. Department of Transportation (DOT) Motor Vehicle Safety Standards. The DOT code includes the Tire Identification Number (TIN), an alphanumeric designator which can also identify the tire manufacturer, production plant, brand, and date of production.

GVWR : Gross Vehicle Weight Rating. See Vehicle Load Limits 0 238.

GAWR FRT : Gross Axle Weight Rating for the front axle. See Vehicle Load Limits 0 238.

GAWR RR : Gross Axle Weight Rating for the rear axle. See Vehicle Load Limits 0 238.

Kilopascal (kPa) : The metric unit for air pressure.

Light Truck (LT-Metric) Tire : A tire used on light duty trucks and some multipurpose passenger vehicles.

Load Index : An assigned number ranging from 1 to 279 that corresponds to the load carrying capacity of a tire.

Maximum Inflation Pressure : The maximum air pressure to which a cold tire can be inflated. The maximum air pressure is molded onto the sidewall.

Maximum Load Rating : The load rating for a tire at the maximum permissible inflation pressure for that tire.

Maximum Loaded Vehicle Weight : The sum of curb weight, accessory weight, vehicle capacity weight, and production options weight.

Normal Occupant Weight : The number of occupants a vehicle is designed to seat multiplied by 68 kg (150 lb). See Vehicle Load Limits 0 238.

Occupant Distribution :

Designated seating positions.

Outward Facing Sidewall : The side of an asymmetrical tire that has a particular side that faces outward when mounted on a vehicle. The side of the tire that contains a whitewall, bears white lettering, or bears manufacturer, brand, and/or model name molding that is

higher or deeper than the same moldings on the other sidewall of the tire.

Passenger (P-Metric) Tire : A tire used on passenger cars and some light duty trucks and multipurpose vehicles.

Recommended Inflation Pressure : Vehicle manufacturer's recommended tire inflation pressure as shown on the tire placard.

See Tire Pressure 0 379 and

Vehicle Load Limits 0 238.

Radial Ply Tire : A pneumatic tire in which the ply cords that extend to the beads are laid at 90 degrees to the centerline of the tread.

Rim : A metal support for a tire and upon which the tire beads are seated.

Sidewall : The portion of a tire between the tread and the bead.

Speed Rating : An alphanumeric code assigned to a tire indicating the maximum speed at which a tire can operate.

Traction : The friction between the tire and the road surface. The amount of grip provided.

Tread : The portion of a tire that comes into contact with

the road.

Treadwear Indicators : Narrow bands, sometimes called wear bars, that show across the tread of a tire when only 1.6 mm

(1/16 in) of tread remains. See When It Is Time for New Tires 0 389.

government testing procedures. The ratings are molded into the sidewall of the tire. See Uniform Tire Quality Grading 0 392.

68 kg (150 lb) plus the rated cargo load. See Vehicle Load Limits 0 238.

Vehicle Placard : A label permanently attached to a vehicle showing the vehicle capacity weight and the original equipment tire size and recommended inflation pressure. See “Tire and Loading Information Label” under Vehicle Load Limits 0 238.

Tire Pressure

Tires need the correct amount of air pressure to operate effectively.

Warning (Continued)

.

Poor handling.

.

Rough ride.

.

Needless damage

from

road hazards.

The Tire and Loading Information label on the vehicle indicates the original equipment tires and the correct cold tire inflation pressures. The recommended pressure is the minimum air pressure needed to support the vehicle's maximum load carrying capacity.

For additional information regarding how much weight the vehicle can carry, and an example of the Tire and Loading Information label, see Vehicle Load Limits 0 238. How the vehicle is loaded affects vehicle handling and ride comfort. Never

load the vehicle with more weight than it was designed to carry.

When to Check

Check the pressure of the tires once a month or more.

Do not forget the spare tire, if the vehicle has one. See

Full-Size Spare Tire 0 408 for additional information.

Use a good quality pocket-type gauge to check tire pressure. Proper tire inflation cannot be determined by looking at the tire. Check the tire inflation pressure when the tires are cold, meaning the vehicle has not been driven for at least three hours or no more than 1.6 km (1 mi).

Remove the valve cap from the tire valve stem. Press the tire gauge firmly onto the valve to get a pressure measurement.

If the cold tire inflation pressure

matches the recommended pressure on the Tire and Loading Information label, no further adjustment is necessary. If the inflation pressure is low, add air until the recommended pressure is reached. If the inflation pressure is high, press on the metal stem in the center of the tire valve to release air.

Re-check the tire pressure with the tire gauge.

Put the valve caps back on the valve stems to keep out dirt and moisture and prevent leaks. Use only valve caps designed for the vehicle by GM. TPMS sensors could be damaged and would not be covered by the vehicle warranty.

Tire Pressure for

High-Speed Operation

Vehicles with P275/55R20 or P285/ 50R20 size tires require inflation pressure adjustment when driving

the vehicle at speeds of 160 km/h (100 mph) or higher. Set the cold tire inflation pressure to 20 kPa (3 psi) above the recommended cold tire pressure shown on the Tire and Loading Information label.

Return the tires to the recommended cold tire inflation pressure when high-speed driving has ended.

See Vehicle Load Limits 0 238 and

Tire Pressure 0 379.

The Tire Pressure Monitor System (TPMS) uses radio and sensor technology to check tire pressure levels. The TPMS sensors monitor the air pressure in your tires and transmit tire pressure readings to a receiver located in the vehicle.

Each tire, including the spare (if provided), should be checked monthly when cold and inflated to the inflation pressure recommended by the vehicle manufacturer on the vehicle placard or tire inflation

pressure label. (If your vehicle has tires of a different size than the size indicated on the vehicle placard or tire inflation pressure label, you should determine the proper tire inflation pressure for those tires.)

As an added safety feature, your vehicle has been equipped with a tire pressure monitoring system (TPMS) that illuminates a low tire pressure telltale when one or more of your tires is significantly

under-inflated.

Accordingly, when the low tire pressure telltale illuminates, you should stop and check your tires as soon as possible, and inflate them to the proper pressure. Driving on a significantly under-inflated tire causes the tire to overheat and can lead to tire failure. Under-inflation also reduces fuel efficiency and tire tread life, and may affect the vehicle's handling and stopping ability.

Please note that the TPMS is not a substitute for proper tire maintenance, and it is the driver's responsibility to maintain correct tire

pressure, even if under-inflation has not reached the level to trigger illumination of the TPMS low tire pressure telltale.

Your vehicle has also been equipped with a TPMS malfunction indicator to indicate when the system is not operating properly. The TPMS malfunction indicator is combined with the low tire pressure telltale. When the system detects a malfunction, the telltale will flash for approximately one minute and then remain continuously illuminated.

This sequence will continue upon subsequent vehicle start-ups as long as the malfunction exists.

When the malfunction indicator is illuminated, the system may not be able to detect or signal low tire pressure as intended. TPMS malfunctions may occur for a variety of reasons, including the installation of replacement or alternate tires or wheels on the vehicle that prevent the TPMS from functioning properly. Always check the TPMS malfunction telltale after replacing one or more tires or wheels on your vehicle to

ensure that the replacement or alternate tires and wheels allow the TPMS to continue to function properly.

See Tire Pressure Monitor Operation 0 382.

See Radio Frequency Statement

0 460.

This vehicle may have a Tire Pressure Monitor System (TPMS). The TPMS is designed to warn the driver when a low tire pressure condition exists. TPMS sensors are mounted onto each tire and wheel assembly, excluding the spare tire and wheel assembly. The TPMS sensors monitor the air pressure in the tires and transmit the tire pressure readings to a receiver located in the vehicle.

When a low tire pressure condition is detected, the TPMS illuminates the low tire pressure warning light located on the instrument cluster. If the warning light comes on, stop as soon as possible and inflate the tires to the recommended pressure shown on the Tire and Loading

Information label. See Vehicle Load Limits 0 238.

A message to check the pressure in a specific tire displays in the Driver Information Center (DIC). The low tire pressure warning light and the DIC warning message come on at each ignition cycle until the tires are inflated to the correct inflation pressure. If the vehicle has DIC buttons, tire pressure levels can be viewed. For additional information

and details about the DIC operation and displays, see Driver Information Center (DIC) (Base Level) 0 154 or Driver Information Center (DIC) (Uplevel) 0 156.

The low tire pressure warning light may come on in cool weather when the vehicle is first started, and then turn off as the vehicle is driven. This could be an early indicator that the air pressure is getting low and needs to be inflated to the proper pressure.

A Tire and Loading Information label shows the size of the original equipment tires and the correct inflation pressure for the tires when they are cold. See Vehicle Load Limits 0 238, for an example of the Tire and Loading Information label and its location. Also see Tire Pressure 0 379.

The TPMS can warn about a low tire pressure condition but it does not replace normal tire maintenance. See Tire Inspection

0 386, Tire Rotation 0 387 and Tires

0 371.

The TPMS will not function properly if one or more of the TPMS sensors are missing or inoperable. When the system detects a malfunction, the low tire pressure warning light flashes for about one minute and then stays on for the remainder of the ignition cycle. A DIC warning message also displays. The malfunction light and DIC warning message come on at each ignition

cycle until the problem is corrected. Some of the conditions that can cause these to come on are:

    One of the road tires has been replaced with the spare tire. The spare tire does not have a TPMS sensor. The malfunction light and the DIC message should go off after the road tire is replaced and the sensor matching process is performed successfully. See "TPMS Sensor Matching Process" later in this section.
    The TPMS sensor matching process was not done or not completed successfully after rotating the tires. The malfunction light and the DIC message should go off after successfully completing the sensor matching process. See "TPMS Sensor Matching Process" later in this section.
    One or more TPMS sensors are missing or damaged. The malfunction light and the DIC message should go off when the TPMS sensors are installed and

the sensor matching process is performed successfully. See your dealer for service.

    Replacement tires or wheels do not match the original equipment tires or wheels. Tires and wheels other than those recommended could prevent the TPMS from functioning properly. See Buying New Tires 0 390.
    Operating electronic devices or being near facilities using radio wave frequencies similar to the TPMS could cause the TPMS sensors to malfunction.

If the TPMS is not functioning properly, it cannot detect or signal a low tire pressure condition. See your dealer for service if the TPMS malfunction light and DIC message come on and stay on.

This feature provides visual and audible alerts outside the vehicle to help when inflating an underinflated tire to the recommended cold tire pressure.

When the low tire pressure warning light comes on:

    Park the vehicle in a safe, level place.
    Set the parking brake firmly.
    Place the vehicle in P (Park).
    Add air to the tire that is underinflated. The turn signal lamp will flash.

When the recommended pressure is reached, the horn sounds once and the turn signal lamp will stop flashing and briefly turn solid.

Repeat these steps for all underinflated tires that have illuminated the low tire pressure warning light.

If the tire is overinflated by more than 35 kPa (5 psi), the horn will sound multiple times and the turn signal lamp will continue to flash for several seconds after filling stops. To release and correct the pressure, while the turn signal lamp is still flashing, briefly press the center of the valve stem. When the recommended pressure is reached, the horn sounds once.

If the turn signal lamp does not flash within 15 seconds after starting to inflate the tire, the tire fill alert has not been activated or is not working.

If the hazard warning flashers are on, the tire fill alert visual feedback will not work properly.

The TPMS will not activate the tire fill alert properly under the following conditions:

    There is interference from an external device or transmitter.
    The air pressure from the inflation device is not sufficient to inflate the tire.
    There is a malfunction in the TPMS.
    There is a malfunction in the horn or turn signal lamps.
    The identification code of the TPMS sensor is not registered to the system.
    The battery of the TPMS sensor is low.

If the tire fill alert does not operate due to TPMS interference, move the vehicle about 1 m (3 ft) back or forward and try again. If the tire fill alert feature is not working, use a tire pressure gauge.

Each TPMS sensor has a unique identification code. The identification code needs to be matched to a new tire/wheel position after rotating the

vehicle’s tires or replacing one or more of the TPMS sensors. Also, the TPMS sensor matching process should be performed after replacing a spare tire with a road tire containing the TPMS sensor. The malfunction light and the DIC message should go off at the next ignition cycle. The sensors are matched to the tire/wheel positions, using a TPMS relearn tool, in the following order: driver side front tire, passenger side front tire, passenger side rear tire, and driver side rear. See your dealer for service or to purchase a relearn tool. A TPMS relearn tool can also be purchased. See Tire Pressure Monitor Sensor Activation Tool at www.gmtoolsandequipment.com or call 1-800-GM TOOLS

(1-800-468-6657).

There are two minutes to match the first tire/wheel position, and

five minutes overall to match all four tire/wheel positions. If it takes longer, the matching process stops and must be restarted.

The TPMS sensor matching process is:

    Set the parking brake.
    Turn the ignition on without starting the vehicle.
    Uplevel DIC Only: Make sure the Tire Pressure info page option is turned on. The info pages on the DIC can be turned on and off through the Settings menu.

See Driver Information Center (DIC) (Base Level) 0 154 or Driver Information Center (DIC) (Uplevel) 0 156.

    If the vehicle has an uplevel DIC, use the DIC controls on the right side of the steering wheel to scroll to the Tire Pressure screen under the DIC info page.

If the vehicle has a base level DIC, use the trip odometer reset stem to scroll to the Tire Pressure screen.

    If the vehicle has an uplevel DIC, press and hold the V (Set/Reset) button located in the center of the DIC controls.

If the vehicle has a base level DIC, press and hold the trip odometer reset stem for about five seconds. A message asking if the process should begin should appear. Select yes and press the trip odometer reset stem to confirm the selection.

The horn sounds twice to signal the receiver is in relearn mode and the TIRE LEARNING ACTIVE message displays on the DIC screen.

    Start with the driver side front tire.
    Place the relearn tool against the tire sidewall, near the valve stem. Then press the button to activate the TPMS sensor.

A horn chirp confirms that the sensor identification code has been matched to this tire and wheel position.

    Proceed to the passenger side front tire, and repeat the procedure in Step 7.
    Proceed to the passenger side rear tire, and repeat the procedure in Step 7.
    Proceed to the driver side rear tire, and repeat the procedure in Step 7. The horn sounds two times to indicate the sensor identification code has been matched to the driver side rear tire, and the TPMS sensor matching process is no longer active. The TIRE LEARNING ACTIVE message on the DIC display screen goes off.
    Turn the vehicle off.
    Set all four tires to the recommended air pressure level as indicated on the Tire and Loading Information label.

Replace the tire if:

    The indicators at three or more places around the tire can be seen.
    There is cord or fabric showing through the tire's rubber.
    The tread or sidewall is cracked, cut, or snagged deep enough to show cord or fabric.
    The tire has a bump, bulge, or split.
    The tire has a puncture, cut, or other damage that cannot be repaired well because of the size or location of the damage.

Tire Rotation

Tires should be rotated every 12 000 km (7,500 mi). See Maintenance Schedule 0 431.

Anytime unusual wear is noticed, rotate the tires as soon as possible, check for proper tire inflation pressure, and check for damaged tires or wheels. If the unusual wear continues after the rotation, check the wheel alignment.

See When It Is Time for New Tires 0 389 and Wheel

Replacement 0 394.

Use this rotation pattern when rotating the tires if the vehicle has single rear wheels.

Dual Tire Rotation

or whenever a wheel, wheel bolt, or wheel nut is replaced or serviced, check the wheel nut torque after 160, 1 600, and

10 000 km (100, 1,000, and

6,000 mi) of driving. For proper torque and wheel nut tightening information, see “Removing the Flat Tire and Installing the Spare Tire” under Tire Changing 0 397

and “Wheel Nut Torque” under Capacities and Specifications 0 447.

See Tire Inspection 0 386 and

Tire Rotation 0 387. Also see

Maintenance Schedule 0 431.

See Tire Pressure 0 379, for information on proper tire inflation.

Vehicles with polished forged aluminum dual wheels have three unique wheels; a front, a rear outer and a rear inner.

These wheels cannot be rotated to another position, however, they can be rotated from left to right to the same position.

Use this rotation pattern when rotating the tires if the vehicle has polished forged aluminum dual rear wheels. The spare wheel can be used in any position in the event of a flat tire, and can be rotated with the rear inner wheels. After the flat tire is repaired, if the spare is not on one of the inner rear positions, it must be replaced by the correct wheel in the front or rear outer positions.

When installing dual wheels, check that the vent holes in the inner and outer wheels on each side are lined up.

Adjust the front and rear tires to the recommended inflation pressure on the Tire and Loading Information label after the tires have been rotated.

See Tire Pressure 0 379 and

Vehicle Load Limits 0 238.

Check that all wheel nuts are properly tightened. See “Wheel Nut Torque” under Capacities and Specifications 0 447.

build-up. Do not get grease on the flat wheel mounting surface or on the wheel nuts or bolts.

Reset the Tire Pressure Monitor System (TPMS), if the vehicle has one. See Tire Pressure Monitor Operation 0 382.

“Storing a Flat or Spare Tire and Tools” under Tire Changing

0 397.

Factors, such as maintenance, temperatures, driving speeds, vehicle loading, and road conditions affect the wear rate of the tires.

Treadwear indicators are one way to tell when it is time for new tires.

Treadwear indicators appear when the tires have only 1.6 mm (1/16 in) or less of tread remaining. Some

commercial truck tires may not have treadwear indicators.

See Tire Inspection 0 386 and Tire Rotation 0 387 for additional information.

The rubber in tires ages over time. This also applies to the spare tire, if the vehicle has one, even if it is never used. Multiple factors including temperatures, loading conditions, and inflation pressure maintenance affect how fast aging takes place. GM recommends that tires, including the spare if equipped, be replaced after six years, regardless of tread wear. To

identify the age of a tire, use the tire manufacture date which is the last four digits of the DOT Tire Identification Number (TIN) which is molded into one side of the tire sidewall. The first two digits represent the week (01-52) and the last two digits, the year. For example, the third week of the year 2010 would have a four-digit DOT date of 0310.

Tires age when stored normally mounted on a parked vehicle. Park a vehicle that will be stored for at least a month in a cool, dry, clean area away from direct sunlight to slow aging. This area should be free of grease, gasoline, or other substances that can deteriorate rubber.

Parking for an extended period can cause flat spots on the tires that may result in vibrations while driving. When storing a vehicle for at least a month, remove the tires or raise the vehicle to reduce the weight from the tires.

GM strongly recommends buying tires with the same TPC Spec rating.

GM's exclusive TPC Spec system considers over a dozen critical specifications that impact the overall performance of the vehicle, including brake system performance, ride and handling, traction control, and tire pressure monitoring performance. GM's TPC Spec number is molded onto the tire's sidewall near the tire size. If the tires have an all-season tread design, the TPC Spec number will be followed by MS for mud and snow. See Tire Sidewall Labeling 0 373 for additional information.

GM recommends replacing worn tires in complete sets of four (six for dual rear wheels). Uniform tread depth on all tires will help to maintain the performance of the vehicle. Braking and

handling performance may be adversely affected if all the tires are not replaced at the same time. If proper rotation and maintenance have been done, all four tires (six for dual rear wheels) should wear out at about the same time. See Tire Rotation 0 387 for information on proper tire rotation. However, if it is necessary to replace only one axle set of worn tires, place the new tires on the rear axle (two for single rear wheels, four for dual rear wheels).

Winter tires with the same speed rating as the original equipment tires may not be available for H, V, W, Y and ZR speed rated tires. Never exceed the winter tires’ maximum speed capability when using winter tires with a lower speed rating.

If the vehicle tires must be replaced with a tire that does not have a TPC Spec number, make sure they are the same size, load range, speed rating, and construction (radial) as the original tires.

Vehicles that have a tire pressure monitoring system could give an inaccurate

low-pressure warning if non-TPC Spec rated tires are installed.

See Tire Pressure Monitor System 0 381.

The Tire and Loading Information label indicates the original equipment tires on the vehicle. See Vehicle Load Limits 0 238 for the label location and more information about the Tire and Loading Information label.

Different Size Tires and Wheels

If wheels or tires are installed that are a different size than the original equipment wheels and tires, vehicle performance, including its braking, ride and handling characteristics, stability, and resistance to rollover may be affected. If the vehicle has electronic systems such as antilock brakes, rollover airbags, traction control, electronic stability control,

or All-Wheel Drive, the performance of these systems can also be affected.

See Buying New Tires 0 390 and

Accessories and Modifications

0 326.

(NHTSA), which grades tires by treadwear, traction, and temperature performance. This applies only to vehicles sold in the United States. The grades are molded on the sidewalls of most passenger car tires. The Uniform Tire Quality Grading (UTQG) system does not apply to deep tread, winter tires, compact spare tires, tires with nominal rim diameters of

10 to 12 inches (25 to 30 cm), or to some limited-production tires.

While the tires available on General Motors passenger cars and light trucks may vary with respect to these grades, they must also conform to federal safety requirements and additional General Motors Tire Performance Criteria (TPC) standards.

Quality grades can be found where applicable on the tire sidewall between tread shoulder and maximum section width. For example:

Treadwear 200 Traction AA Temperature A

Treadwear

The treadwear grade is a comparative rating based on the wear rate of the tire when tested under controlled conditions on a specified government test course. For example, a tire graded 150 would wear one and one-half (1½) times as well on the government course as a tire graded 100. The relative performance of tires depends upon the actual conditions of their use, however, and may depart significantly from the

norm due to variations in driving habits, service practices and differences in road characteristics and climate.

Traction

The traction grades, from highest to lowest, are AA, A, B, and C. Those grades represent the tire's ability to stop on wet pavement as measured under controlled conditions on specified government test surfaces of asphalt and concrete. A tire marked C may have poor traction performance. Warning: The traction grade assigned to this tire is based on straight-ahead braking traction tests, and does not include acceleration, cornering, hydroplaning, or peak traction characteristics.

Temperature

The temperature grades are A (the highest), B, and C, representing the tire's resistance to the generation of heat and its ability to dissipate heat when tested under controlled conditions on a specified indoor laboratory test wheel. Sustained high temperature can cause the material of the tire to degenerate and reduce tire life, and excessive temperature can lead to sudden tire failure. The grade C corresponds to a level of performance which all passenger car tires must meet under the Federal Motor Safety Standard No. 109. Grades B and A represent higher levels of performance on the laboratory test wheel than the minimum required by law. Warning: The temperature grade for this tire is established for a tire that is properly inflated and not overloaded. Excessive speed,

underinflation, or excessive loading, either separately or in combination, can cause heat buildup and possible tire failure.

Wheel Alignment and Tire Balance

The tires and wheels were aligned and balanced at the factory to provide the longest tire life and best overall performance. Adjustments to wheel alignment and tire balancing are not necessary on a regular basis. Consider an alignment check if there is unusual tire wear or the vehicle is significantly pulling to one side or the other. Some slight pull to the left or right, depending on the crown of the road and/or other road surface variations such as troughs or ruts, is normal. If the vehicle is vibrating when driving on a smooth road, the tires and wheels may need to be rebalanced. See your dealer for proper diagnosis.

Replace any wheel that is bent, cracked, or badly rusted or corroded. If wheel nuts keep coming loose, the wheel, wheel bolts and wheel nuts should be replaced.

If the wheel leaks air, replace it. Some aluminum wheels can be repaired. See your dealer if any of these conditions exist.

Your dealer will know the kind of wheel that is needed.

Each new wheel should have the same load-carrying capacity, diameter, width, offset and be mounted the same way as the one it replaces.

Replace wheels, wheel bolts, wheel nuts, or Tire Pressure Monitor System (TPMS) sensors with new GM original equipment parts.

10 000 km (100,1,000, and

6,000 mi) of driving. For proper torque, see “Wheel Nut Torque” under Capacities and Specifications 0 447.

See If a Tire Goes Flat 0 395 for more information.

Used Replacement Wheels

Whenever a wheel, wheel bolt,

or wheel nut is replaced on a dual wheel setup, check the wheel nut torque after 160,1 600, and

If a Tire Goes Flat

It is unusual for a tire to blowout while driving, especially if the tires are maintained properly. If air goes out of a tire, it is much more likely to leak out slowly. But if there ever is a blowout, here are a few tips about what to expect and what to do:

If a front tire fails, the flat tire creates a drag that pulls the vehicle toward that side. Take your foot off the accelerator pedal and grip the steering wheel firmly. Steer to maintain lane position, and then gently brake to a stop, well off the road, if possible.

A rear blowout, particularly on a curve, acts much like a skid and may require the same correction as used in a skid. Stop pressing the accelerator pedal and steer to straighten the vehicle. It may be very bumpy and noisy. Gently brake to a stop, well off the road,

if possible.

If a tire goes flat, avoid further tire and wheel damage by driving slowly to a level place, well off the road,

if possible. Turn on the hazard warning flashers. See Hazard Warning Flashers 0 175.

2. Flat Tire

The following information explains how to use the jack and change

a tire.

6. Jack Knob

When the vehicle has a flat tire (2), use the following example as a guide to assist in the placement of the wheel blocks (1), if equipped.

1. Wheel Block (If Equipped)

Crew Cab

    Wheel Blocks
    Wing Nut Retaining Wheel Blocks
    Tool Kit
    Wing Nut Retaining Tool Kit
    Jack

Regular Cab

    Wing Nut Retaining Wheel Blocks
    Wheel Blocks
    Wing Nut Retaining Tool Kit
    Tool Kit
    Jack
    Jack Knob

Double Cab

    Wheel Blocks
    Wing Nut Retaining Tool Kit
    Tool Kit
    Jack
    Jack Knob

For regular cab models, the equipment you will need is behind the passenger seat. For double and crew cab models, the equipment is on the shelf behind the passenger side second row seat.

    Turn the knob on the jack counterclockwise to lower the jack head to release the jack from its holder.
    Turn the wing nut counterclockwise to remove the wheel blocks and the wheel block retainer.
    Turn the wing nut used to retain the storage bag and tools counterclockwise to remove it.

Use the jack handle extensions and the wheel wrench to remove the underbody-mounted spare tire.

    Spare Tire (Valve Stem Pointed Down)
    Tire/Wheel Retainer
    Hoist Cable
    Hoist Assembly
    Hoist Shaft
    Jack Handle Extensions
    Wheel Wrench
    Spare Tire Lock (If Equipped)
    Hoist Shaft Access Hole
    Hoist End of Extension Tool
    Open the spare tire lock cover on the bumper and use the ignition key to remove the spare tire lock (8). To remove the spare tire lock, insert the ignition key, turn, and pull straight out.

    Assemble the wheel wrench (7) and the two jack handle extensions (6), as shown.

    Insert the hoist end (open end) (10) of the extension through the hole (9) in the rear bumper.

Do not use the chiseled end of the wheel wrench.

Be sure the hoist end of the extension (10) connects to the hoist shaft. The ribbed square end of the extension is used to lower the spare tire.

    Turn the wheel wrench counterclockwise to lower the spare tire to the ground. Continue to turn the wheel wrench until the spare tire can be pulled out from under the vehicle.
    Pull the spare tire out from under the vehicle.

    Tilt the tire toward the vehicle with some slack in the cable to access the tire/wheel retainer.

Tilt the retainer and pull it through the center of the wheel along with the cable and spring.

    Put the spare tire near the flat tire.

Use the following pictures and instructions to remove the flat tire and raise the vehicle.

    Jack
    Wheel Blocks
    Jack Handle
    Jack Handle Extensions
    Wheel Wrench

The tools you will be using include the jack (1), the wheel blocks (2), the jack handle (3), the jack handle extensions (4), and the wheel wrench (5).

    Do a safety check before proceeding. See If a Tire Goes Flat 0 395.

    If the vehicle has wheel nut caps, loosen them by turning the wheel wrench counterclockwise.

If the vehicle has a center cap with wheel nut caps, the wheel nut caps are designed to stay with the center cap after they are loosened. Remove the entire center cap.

If the wheel has a smooth center cap, place the chisel end of the wheel wrench in the slot on the wheel, and gently pry it out.

    Use the wheel wrench and turn it counterclockwise to loosen the wheel nuts. Do not remove the wheel nuts yet.

Front Position – 1500 Models

    If the flat tire is on the front of the vehicle (1500 models), position the jack under the bracket attached to the vehicle's frame, behind the flat tire, as shown.

Front Position – All Other Models

If the flat tire is on the front of the vehicle (all other models), position the jack under the vehicle, as shown.

Rear Position – 1500 Models

    If the flat tire is on the rear, for 1500 models position the jack under the rear axle about 5 cm (2 in) inboard of the shock absorber bracket.

Rear Position – All Other Models

For all other models, position the jack under the rear axle between the spring anchor and the shock absorber bracket.

If a snow plow has been added to the front of the vehicle, lower the snow plow fully before raising the vehicle.

Make sure that the jack head is positioned so that the rear axle is resting securely between the grooves that are on the

jack head.

    Turn the wheel wrench clockwise to raise the vehicle. Raise the vehicle far enough off the ground so there is enough room for the spare tire to fit under the wheel well.
    Remove all the wheel nuts and take off the flat tire.

    Remove any rust or dirt from the wheel bolts, mounting surfaces, and spare wheel.
    Install the spare tire.
    Put the wheel nuts back on with the rounded end of the nuts toward the wheel.
    Tighten each wheel nut by hand. Then use the wheel wrench to tighten the nuts until the wheel is held against

the hub.

    Turn the wheel wrench counterclockwise to lower the vehicle. Lower the jack completely.

    Tighten the nuts firmly in a crisscross sequence, as shown, by turning the wheel wrench clockwise.

For vehicles with dual wheels, have a technician check the wheel nut tightness of all wheels with a torque wrench after the first 160, 1 600 and 10 000 km (100, 1,000 and 6,000 mi).

Repeat this service whenever you

have a tire removed or serviced. See Capacities and Specifications 0 447.

When reinstalling the regular wheel and tire, also reinstall either the center cap, or bolt-on hub cap, depending on what the vehicle is equipped with. For center caps, place the cap on the wheel and tap it into place until it seats flush with the wheel. The cap only goes on one way. Be sure to line up the tab on the center cap with the indentation on the wheel. For

bolt-on hub caps, align the plastic nut caps with the wheel nuts and then tighten by hand. Then use the wheel wrench to tighten.

Store the tire under the rear of the vehicle in the spare tire carrier.

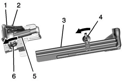
    Spare Tire (Valve Stem Pointed Down)
    Tire/Wheel Retainer
    Hoist Cable
    Hoist Assembly
    Hoist Shaft
    Jack Handle Extensions
    Wheel Wrench
    Spare Tire Lock (If Equipped)
    Hoist Shaft Access Hole
    Hoist End of Extension Tool
    Put the tire on the ground at the rear of the vehicle with the valve stem pointed down, and to the rear.
    Pull the cable and spring through the center of the wheel. Tilt the wheel retainer plate down and through the center wheel.

Make sure the retainer is fully seated across the underside of the wheel.

    Attach the wheel wrench (7) and extensions (6) together, as shown.

    Insert the hoist end (10) through the hole (9) in the rear bumper and onto the hoist shaft.

Do not use the chiseled end of the wheel wrench.

    Raise the tire part way upward. Make sure the retainer is seated in the wheel opening.
    Raise the tire fully against the underside of the vehicle by turning the wheel wrench clockwise until you hear two clicks or feel it skip twice. You cannot overtighten the cable.

    Make sure the tire is stored securely. Push, pull, and then try to turn the tire. If the tire moves, use the wheel wrench to tighten the cable.

Repeat this tightness check procedure when checking the spare tire pressure according to the scheduled maintenance information or any time the spare tire is handled due to service of other components.

Correctly Stored

Incorrectly Stored

    Reinstall the spare tire lock, if the vehicle has one.

To store the jack and jack tools:

    Wing Nut Retaining Wheel Blocks
    Wheel Blocks
    Wing Nut Retaining Tool Kit
    Wheel Wrench and Extensions
    Tool Bag
    Jack Mounting Bracket
    Jack
    Bolt Retaining Wheel Blocks
    Put the tools (4) in the tool bag (5) and place them in the retaining bracket (3).
    Tighten down the wing nut (3).
    Assemble the wheel blocks (2) and jack (7) together with the wing nut (1) and retaining bolt (8).
    Position the jack (7) in the mounting bracket (6). Position the holes in the base of the jack (7) onto the pin in the mounting bracket (6).
    Return them to their original location in the vehicle. See “Removing the Spare Tire and Tools.”

If this vehicle came with a full-size spare tire, it was fully inflated when new, however, it can lose air over time. Check the inflation pressure regularly.

See Tire Pressure 0 379 and

Vehicle Load Limits 0 238. For instructions on how to remove, install, or store a spare tire, see Tire Changing 0 397.

If equipped with a temporary use full-size spare tire, it is indicated on the tire sidewall. See Tire Sidewall Labeling 0 373. This spare tire should not be driven on over

112 km/h (70 mph), or 88 km/h (55 mph) when pulling a trailer, at

the proper inflation pressure. Repair and replace the road tire as soon as it is convenient, and stow the spare tire for future use.

The vehicle may have a different size spare tire than the road tires originally installed on the vehicle.

This spare tire was developed for use on this vehicle, so it is all right to drive on it. If the vehicle has

four-wheel drive and a different size spare tire is installed, drive only in two-wheel drive.

After installing the spare tire on the vehicle, stop as soon as possible and check that the spare tire is correctly inflated.

Have the damaged or flat road tire repaired or replaced and installed back onto the vehicle as soon as possible so the spare tire will be available in case it is needed again.

Do not mix tires and wheels of different sizes, because they will not fit. Keep your spare tire and its wheel together. If the vehicle has a spare tire that does not match the original road tires and wheels in size and type, do not include the spare in the tire rotation.


Download Manual